TIDA-00823, 16-Bit 1-GSPS Digitizer Reference Design with AC and DC Coupled Fixed Gain Amplifier
Using Part
Vignette
1 / 12
Pour les produits finaux
- Data Acquisition System
- Electronic Warfare
- Munitions and Targeting
- Pen Digitizer
- Radar System
- Software Defined Radio
- WiMAX/Wireless Broadband
Description
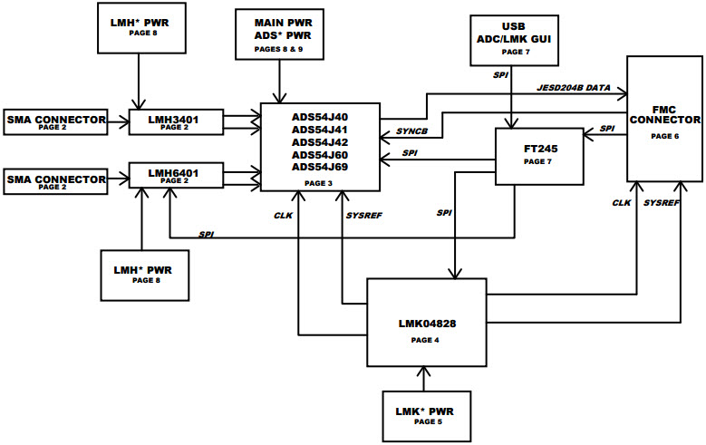
- TIDA-00823, 16-Bit 1-GSPS Digitizer Reference Design with AC and DC Coupled Fixed Gain Amplifier. This reference design discusses the use and performance of the Ultra-Wideband, Fixed-gain high-speed amplifier, the LMH3401 to drive the high-speed analog-to-digital converter (ADC), the ADS54J60 device. Different options for common-mode voltages, power supplies and interfaces are discussed and measured, including AC-coupling and DC-coupling, to meet the requirements of a variety of applications
Caractéristiques principales
-
ADC Resolution16 Bit
-
ADC Sampling Rate1G SPS
-
Number of Channels2CH
Pièces en vedette (18)
| Pièce numéro | Fabricant | Type | Description | |||
|---|---|---|---|---|---|---|
|
|
TPS7A8300RGRR | Texas Instruments | Linear Regulators | LDO Regulator Pos 0.8V to 5V 2A 20-Pin VQFN EP T/R | Ajouter au panier | |
|
|
TPS63050YFFT-S | Texas Instruments | DC to DC Converter and Switching Regulator Chip | Conv DC-DC 2.5V to 5.5V Inverting/Synchronous Step Up/Synchronous Step Down Single-Out 2.5V to 5.5V 0.5A 12-Pin DSBGA T/R | Ajouter au panier | |
|
|
LMH3401IRMSR | Texas Instruments | RF Amplifiers | RF Amp Single DIFF Amp 2GHz ±2.625V/5.25V 14-Pin UQFN T/R | Ajouter au panier | |
|
|
LMK04828BISQ/NOPB | Texas Instruments | Clock Generators and Synthesizers | Clock Generator 0.001MHz to 750MHz-IN 3100MHz-OUT 64-Pin WQFN EP T/R | Ajouter au panier | |
|
|
LMK04828BISQ/NOPB | Texas Instruments | Clock Generators and Synthesizers | Clock Generator 0.001MHz to 750MHz-IN 3100MHz-OUT 64-Pin WQFN EP T/R | Ajouter au panier | |
|
|
TPS82085SILT | Texas Instruments | DC to DC Converter and Switching Regulator Module | Module DC-DC 1-OUT 0.8V to 6V 3A 8-Pin uSIP SMD EP T/R | Ajouter au panier | |
|
|
LMH3401IRMST | Texas Instruments | RF Amplifiers | RF Amp Single DIFF Amp 2GHz ±2.625V/5.25V 14-Pin UQFN T/R | Ajouter au panier | |
|
|
SN65LVDS4RSET | Texas Instruments | LVDS | LVDS Receiver 500Mbps 10-Pin UQFN T/R | Ajouter au panier | |
|
|
TPS82085SILR | Texas Instruments | DC to DC Converter and Switching Regulator Module | Module DC-DC 1-OUT 0.8V to 6V 3A 8-Pin uSIP SMD EP T/R | Ajouter au panier | |
|
|
TXB0104RGYR | Texas Instruments | Level Translators | Voltage Level Translator 4-CH Bidirectional 14-Pin VQFN EP T/R | Ajouter au panier | |
|
|
TPS63050YFFR | Texas Instruments | DC to DC Converter and Switching Regulator Chip | Conv DC-DC 2.5V to 5.5V Inverting/Synchronous Step Up/Synchronous Step Down Single-Out 2.5V to 5.5V 0.5A 12-Pin DSBGA T/R | Ajouter au panier | |
|
|
TPS63050YFFT | Texas Instruments | DC to DC Converter and Switching Regulator Chip | Conv DC-DC 2.5V to 5.5V Inverting/Synchronous Step Up/Synchronous Step Down Single-Out 2.5V to 5.5V 0.5A 12-Pin DSBGA T/R | Ajouter au panier | |