当前,汽车产业正经历前所未有的转型浪潮。从电动化、智能化到网联化与软件定义车辆的崛起,整个行业的技术架构与供应链体系正被重新塑造。在这样的背景下,传统以功能为中心的集中式电子电气(E/E)架构,逐渐难以满足新一代汽车对计算性能、模块化设计以及快速升级的需求。取而代之的,是以区域控制为核心的“区域架构”(Zone Architecture)设计理念。本文将为您探讨应对汽车行业快速变革的区域架构发展趋势,并介绍由安森美(onsemi)推出的相应解决方案。
区域架构降低了汽车制造的复杂性与成本
区域架构的兴起旨在,尤其是在电动汽车兴起的背景下,低压配电和车载网络技术取得了显着进步。分布式区域配电简化了线束,从而减轻了重量、降低了制造复杂性与成本。
向软件定义车辆(SDV)的转变促使汽车制造商不断创新,将受保护的半导体开关集成到区域控制器中。电子熔丝(eFuse)和智能场效应晶体管(SmartFET)通过保护负载、传感器和执行器,提高了功能安全性和故障功能恢复能力。与传统的域架构不同,区域架构集中了控制和计算,将软件从各个电子控制单元(ECU)转移到功能强大的中央计算机,这为下游电子控制和配电提供了更高的灵活性。
车载以太网对于软件定义车辆至关重要,它能够处理来自摄像头和激光雷达(LiDAR)等传感器的大量数据,并确保区域控制器和中央计算机之间的实时数据传输,中央计算机则负责处理传感器数据并做出决策。随着计算需求的持续增长,这一基础设施对于未来的自动驾驶汽车至关重要。

现代汽车从传统架构过渡到区域架构
随着现代汽车日益复杂,电源分配(PD)和车载网络的两大趋势正在塑造区域架构,通过电源分配的变化,来简化当前汽车电气架构的设计。电源分配正从集中式电源分配演变为区域式(分布式)电源分配,后者依赖于新型半导体保护器件(例如eFuse和SmartFET)来提高功能安全性。由于数据量巨大,车辆网络则越来越依赖于车载以太网骨干网。
在199x年代的汽车传统架构采用集中式电源分配,电源直接输送至各个电子控制单元(ECU),分布式控制和软件驻留在ECU中。到了201x年代则多采用域架构,是带有域控制器的半分布式电源分配。
汽车的电子复杂性日益增加,并变得至关重要,电源不再直接输送至ECU,而是输送至域控制器。域控制器按功能分组,可分成像是电源、底盘、信息娱乐等。为了维持这种架构并增加更多ECU,连接所有设备的线束变得过长且过重。保护措施则依赖于一个或多个保险丝盒,以及可能基于域的本地保险丝。
随着汽车电子器件数量的增长,电源分配变得日益复杂,线束设计面临的挑战也显着增加。传统的线束连接方式,即连接电源、底盘、信息娱乐、车身和舒适性等相似功能,已不再高效灵活。汽车行业正从集中式电源分配转向更加分散的区域式方案。许多传统上分散在车内的电子控制单元(ECU)可以被区域控制器(ZCU)所取代。
单个电源分配单元(PDU)作为电源分配树的初级层级,PDU连接到车辆的低压(LV)电池,或者连接到高压-低压直流-直流转换器(HV-LV DC-DC转换器)的输出端,该转换器将高压(HV)电池的电压降低。PDU通过大电流保险丝提供初级保护,并智能地将电源分配到车辆内的每个区域,从而确保高效可靠的电源管理。ZCU进一步分配电源并管理各自区域内的电气器件,显着降低了线束的重量和复杂性。
ZCU还可以作为车辆的数据和网络网关,依赖于车载以太网。它们通过100/1000BASE-T1以太网骨干网与中央计算机进行上游通信,摄像头、传感器、激光雷达等边缘节点的下游通信则基于10BASE-T1S以太网。传统的ECU可以通过CAN、LIN和FlexRay等传统总线与ZCU保持连接。
在2025年之后,则朝向区域架构发展,车辆被划分为四个区域,由区域控制单元(ZCU)进行管理。电源分配单元(PDU)向每个区域分配电力,ZCU则进一步管理第二级配电树。这种分布式模型增加了冗余性,每个ZCU分配电力并管理按位置分组的电气器件。受保护的半导体开关(例如电子熔丝和智能场效应晶体管)通过保护负载、传感器和执行器,增强了功能安全性和故障功能应对能力。

区域化架构推动软件定义车辆的发展
在传统的车辆架构中,软件主要驻留在各个电子控制单元(ECU)内。然而,区域化架构改变了这一现状,它将软件从ECU中分离出来,并将控制和计算集中在一个功能强大的中央计算机中。这种转变对于高级驾驶辅助系统(ADAS)和自动驾驶至关重要,因为它们需要处理来自摄像头、雷达和激光雷达传感器的大量数据,这些传感器每秒可以产生数兆比特的数据。汽车以太网成为软件定义车辆硬件基础设施中的网络骨干,高效地在区域控制单元(ZCU)和中央计算机之间传输实时数据。
空中软件(OAS)更新则是软件定义车辆的另一项重大进步。过去,车辆软件更新很少见,而且需要前往汽车经销商处进行。通常情况下,车辆交付后,ECU软件就不会再进行更新。但在智能手机和即时下载盛行的时代,定期前往经销商处进行更新已不再可行。如今,车辆可以连接到云端并自动更新,通常在夜间完成,第二天早上即可享受新功能和改进,无需任何不便。区域化方案凭借其集中式计算优势,简化了更新流程。
10BASE-T1S是单双绞线以太网的最新发展之一,专为汽车应用而设计。10BASE-T1S(符合IEEE 802.3cg标准)满足了汽车对高速、高带宽和确定性实时通信网络的需求。多点拓扑结构是汽车应用的关键变革,因为它允许多个节点通过单根非屏蔽双绞线连接到主机控制器。此外,车载以太网的可扩展性和灵活性使其能够轻松集成新功能和技术。这些复杂且数据密集型的应用包括高级驾驶辅助系统(ADAS)、信息娱乐系统、实时诊断和其他关键器件。

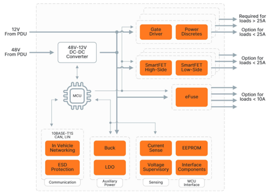
全面支持区域架构的半导体产品组合
安森美能够提供全面的半导体产品组合,以支持区域架构的转型,关键器件包括低压/中压MOSFET和安森美的新型PowerTrench T10 MOSFET。安森美先进的SmartFET和eFuse保护型电源开关取代了传统的保险丝,提供可复位保护并增强安全性。10BASE-T1S以太网收发器支持多点拓扑、PLCA等多种创新功能,从而实现车辆联网。
区域控制器(ZCU)是区域车辆架构中的基本器件,负责管理其指定区域内的电源分配。ZCU可以集成多个关键器件,例如SmartFET、eFuse和分立式MOSFET。此外,ZCU还支持高速通信网络,可利用NCV7410和T30HM1TS2500等10BASE-T1S以太网收发器。这些收发器实现了ZCU与中央计算机或其他车辆系统之间的高效数据通信。
NCV7410是一款符合IEEE 802.3cg标准的10BASE-T1S以太网收发器,集成了媒体访问控制器(MAC-PHY)。它支持在共享介质(多点)网络上运行,单对双绞线(UTP/STP)连接距离可达25米。NCV7410提供从模式下的SPI接口,可实现与标准主机MCU或SoC的低引脚连接,它可以与连接到共享介质(UTP)的多个节点以10 Mbps的速率进行通信。
多点拓扑或许是汽车以太网领域最具变革性的技术,它为现代车辆网络在区域架构中提供了一种经济、可扩展且高效的解决方案。多个设备(节点)连接到同一根双绞线,形成类似总线的结构。这类似于CAN等早期技术,但具备以太网功能。新的区域架构简化了复杂的基于域的布线,使其更易于管理和维护。
该标准至少支持八个节点,但根据具体实现和线缆长度,可以连接更多节点。现代车辆需要高度的灵活性,而10BASE-T1S允许轻松添加新节点,无需进行大规模的重新布线。此外,通过物理层冲突避免(PLCA)机制,可为每个节点分配特定的时隙来传输数据,从而确保避免数据冲突。
NCV7410实现了PLCA 优先模式这项独特的功能,PLCA ID较低的号码优先于号码较高的号码,这提供了类似于CAN的仲裁机制,一旦任何站点发送信号,协调器(即头节点)就会发送一个新的信标。
T30HM1TS2500(T2500)则是一款先进的10BASE-T1S以太网收发器,集成了媒体访问控制器(MAC-PHY)。它是基于全新Treo平台(BCD65)设计的下一代10BASE-T1S器件,它能够以10 Mbps的速率与连接到共享介质(UTP)的多个节点进行通信。
T2500采用CSMA/CD MAC和PHY架构,并具备物理层冲突避免(PLCA)功能。PLCA可防止物理层冲突,从而提高CSMA/CD的吞吐量。T2500使用SPI(时钟频率高达25 MHz)作为与更高层连接的接口。
与NCV7410相比,T2500支持更多功能,例如拓扑发现(符合TC14标准),可测量节点间的距离,还有睡眠/唤醒(符合TC10标准)配置功能,睡眠模式下功耗极低(35 µA)。此外,时间戳(符合TC6标准),可实现精确的时间同步,并可直接连接电池(VBAT引脚),最高电压可达48 V,更多功能集成于更小巧紧凑的4 x 4 mm QFNW20封装中。
针对10/100/1000BASE-T1S以太网的ESD保护,安森美的SZESD9901和SZESD9902旨在保护敏感的汽车电子组件免受静电放电(ESD)、浪涌和其他有害瞬态事件的影响。这些器件符合OPEN Alliance 10/100/1000 BASE-T1以太网和其他高速数据网络标准。这些器件适用于收发器PHY连接器侧的双向ESD保护,可支持≥ 100 V的高触发电压功能,更高的触发电压可消除差分信号失真钳位。
结语
面对汽车产业的加速变革,区域架构已成为未来车辆电子电气系统演进的核心方向。通过将传统分散的控制单元集成至区域控制器,不仅能显著降低线束重量与成本,还能提升系统的可扩展性与维护效率。结合高速以太网、集中计算平台以及智能软件架构,车厂得以更灵活地应对电动化、智能驾驶与车联网等技术挑战。本文所介绍的安森美解决方案将可协助车厂实现区域架构的设计,成为推动汽车产业迈向智能化与低碳化新时代的关键解决方案。
